Обозначение разреза на чертеже ГОСТ, для чего применяют на чертежах разрезы
Производство любого предмета, будь то составной элемент сложного механизма или целое здание, начинается с работы конструктора по проектированию. Графический чертеж изделия должен быть детализирован настолько точно и четко, чтобы исполнитель сумел прочесть его и выполнить продукт любых размеров и самых сложных форм.
Для чего применяют на чертежах разрезы
Разрезы применяют при проекции полых форм или деталей с углублениями, отверстиями. Внутреннее очертание таких экземпляров на схемах можно изобразить штриховыми линиями. Но в этом случае понадобится достаточно большое количество штриховых линий, которые пересекутся с линиями контура и между собой. Это затрудняет чтение схемы и может привести к искажениям при изготовлении готового продукта. Чтобы исполнитель имел пред глазами ясный пример внутреннего устройства детали, используют разрез.
Разрез — это изображение объекта, которое получается, если воображаемо рассечь его одной или несколькими плоскостями.
Ту часть этого объекта, что находится между вашим взглядом и секущей плоскостью, мысленно отбросьте. На плоскости проекций изобразится то, что получается в самой секущей поверхности — фигура сечения предмета, а также то, что остается в зоне видимости за фигурой.
Что нужно знать, при применении разрезов:
- внутренний контур, который в черчении обозначается штриховыми линиями, теперь становится видимым — обведите его сплошными основными чертами;
- сплошные основные черты, отображающие элементы на части экземпляра, что перед рассекающей поверхностью, проводить не надо;
- фигуру сечения в разрезе заштрихуйте так, как диктуют нормы ГОСТа — в зависимости от вида материала, из которого изготовлен объект;
- представляемое рассечение экземпляра имеет отношение только к этому конкретному разрезу, изменять другие его начертания не стоит.
Разрезы бывают простые и сложные — все зависит от того, каким количеством плоскостей вы планируете разрезать деталь в своем представлении.
Простые делят на вертикальные, горизонтальные и наклонные. Зависит от положения сечения относительно горизонтальной области проекций.Сложные типы подразделяются на ломаные и ступенчатые.
Источник: cadinstructor.orgКак показать разрез на чертеже по ГОСТ
Единая система конструкторской документации ГОСТ 2.305-2008 четко диктует, как изобразить сооружения и их составные элементы на чертежах (электронных моделях). Эти правила актуальны для всех производственных отраслей. Способы выполнения штриховки различных материалов регламентирует ГОСТ 3.306-68.
Рисунок на чертеже делается по методу прямоугольного проецирования, когда вы предполагаете расположение объекта между вами и соответствующей областью проекций. Чертежный рисунок на фронтальной области принимается в качестве главного, поэтому и располагать объект нужно относительно этой поверхности так, чтобы отображение на ней давало наиболее полное представление о его форме и размерах
orgДля выделения разрезов положение секущей поверхности на чертеже отмечается разомкнутой чертой, толщина которой устанавливается в зависимости от толщины основной черты s. Первые и последние штрихи линии сечения не должны пересекать контур соответствующего изображения, на них показывается стрелками направление взгляда. Стрелки наносятся на расстоянии 2…3 мм от внешнего конца штриха. При сложном разрезе штрихи разомкнутой линии сечения проводят также у ее перегибов.
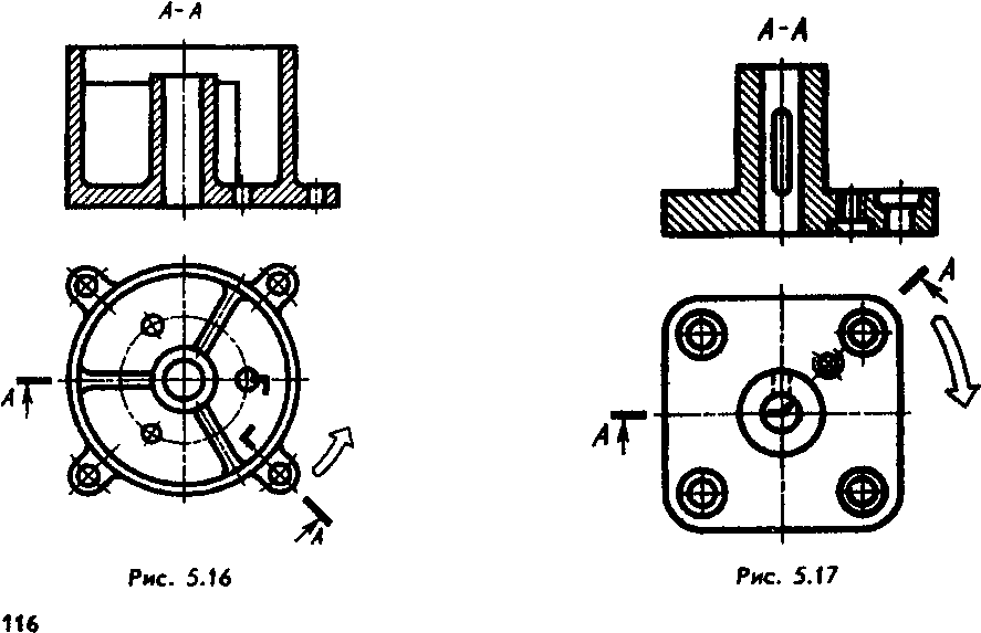
Разрезы по правилам отмечают надписью всегда из двух букв через тире. При таком обозначении используют прописные буквы русского алфавита размером шрифта 7…10 мм по порядку без повторений, за исключением букв И, О, X, Ъ, Ы, Ь. Буквы располагаются рядом со стрелками (в противоположной стороне от контура изображения), а также над разрезом.
Источник: sites.google.com Если секущая плоскость и плоскость симметрии предмета совпадают, а разрезание выполнено на месте соответствующего вида в проекционной связи и не разделено каким-либо другим изображением, то для горизонтальных, вертикальных и профильных разрезов выделять положение секущей поверхности не нужно и разрез надписью не сопровождать.
Сложные и простые наклонные разрезы подписывают всегда.
В строительных проекционных документах у линии сечения взамен букв допускается применение цифр.
Фронтальный
Источник: zhannet.jimdofree.comВертикальный фронтальный разрез — это изображение, которое получается при мысленном рассечении объекта секущей плоскостью. Она в этом случае должна быть параллельной фронтальной плоскости проекций.
Профильный
Источник: jimcdn.comЭто другой вид вертикального разреза. Получается, если мысленно рассечь деталь секущей плоскостью, которая на этот раз должна быть параллельна профильной плоскости проекций.
Горизонтальный
Источник: jimcdn.comВ строительных чертежах их горизонтальные виды еще называют планами. Как следует из самого названия, получается в том случае, если в своем воображении рассечь изделие плоскостью, которая параллельна горизонтальной плоскости проекций.
Наклонный
Источник: jimcdn.comПри таком разрезании секущая и горизонтальная плоскости создают между собой непрямой угол. Наклонный разрез используют в определенных случаях:
- если плоскость симметрии элемента образует острый угол с фронтальной или горизонтальной плоскостью проекций, тогда плоскость разрезания просто с ней совмещают;
- если оси соседних отверстий или частей объекта параллельны и находятся в одной плоскости, а она, свою очередь, перпендикулярна горизонтальной или фронтальной и наклонена по отношению к третьей, тогда секущую плоскость совмещают с осями отверстий или частей;
- если общая форма призматического элемента предмета образует острый угол с горизонтальной плоскостью, тогда секущая плоскость проходит перпендикулярно границе элемента.
При построении и расположении и наклонного типа учитывайте направление стрелок на черте сечения. Наклонный разрез можно изобразить на любом месте поля чертежа, а также повернуть до положения, которое принято для этой детали на главном изображении.
В этом случае не забудьте к надписи добавить знак «повернуто».
Местный
Источник: jimcdn.comЭтот способ рассечения помогает выяснить, как устроено сложное изделие в отдельном ограниченном месте. На виде местный разрез ограничивают волнистой чертой или чертой с изломом. Важно, чтобы линии ограничения не совпадали с какими-либо другими. Обычно местные разрезы на виде не обозначают.
Ступенчатый
Источник: jimcdn.comЗдесь в воображаемом рассечении объекта должны участвовать, как минимум, две, можно и больше, параллельные плоскости. На чертеже вы имеете право их условно совместить. Так же, как и простые разрезы, ступенчатые можно сделать и горизонтальными, и фронтальными, и профильными.
Ломаный
Источник: jimcdn.comСложный ломаный разрез получается, когда в вашем воображении рассечение происходит пересекающимися плоскостями. Чтобы изобразить на схеме, условно поворачивайте это множество секущих плоскостей до тех пор, пока не совместите их в одну плоскость.
Совмещение вида и разреза на чертеже
- горизонтальные, фpонтальные и пpофильные pазpезы могут pасполагаться на месте соответствующих основных видов;
Источник: cadinstructor.org
- при соединении вида и соответствующего pазpеза друг от друга их схематически отделяют волнистой сплошной чертой или изломанной чертой. Совпадать с другими линиями чертежа они не должны;
- при соединении симметричных половин вида и соответствующего pазpеза разделительной линией служит ось симметpии;
- соединять половину вида с половиной pазpеза, если какая-либо линия рисунка совпадает с осевой, напpимеp, pебpом, нельзя. Можно большую часть вида соединить меньшей частью pазpеза или наоборот;
- если изображается тело вращения, то допустимо pазделить между собой вид и pазpез совпадающей со следом плоскости симметрии тонкой штpихпунктиpной линией.

- пpи соединении половин вида и соответствующего pазpеза, спpава от веpтикальной оси и снизу от гоpизонтальной располагается разрез;
- местные pазpезы на виде выделяются сплошными волнистыми линиями, ни в коем случае не совпадающими с другими линиями изображения;
- фигуpы сечения, полученные pазличными секущими плоскостями в сложном pазpезе, никакими линиями pазделять не нужно;
- расположение сложного ступенчатого pазpеза возможно не только на месте основного вида, а и в любой части чеpтежа;
- если совмещенные плоскости ломаного разреза будут паpаллельны одной из основных плоскостей пpоекций, то его возможно поместить на соответствующем виде.
- ступенчатый и ломаный разрезы допускается соединить в виде одного сложного разреза.
Сколько может быть разрезов на одном чертеже
Стандарты диктуют для проектировщиков размещать минимальное количество всех типов изображений.
Это касается видов, сечений и разрезов. Одновременно нужно руководствоваться главным правилом — наличие изображений призвано обеспечивать полное представление об изделии. Для полноты картины должны применяются условные обозначения, надписи и знаки, установленные стандартами.
Отличие сечения от разреза
Между такими типами изображений, как разрез и сечение, довольно много общего. И то, и другое — результат воображаемого рассечения какого-то продукта одной или несколькими плоскостями. Положение секущей плоскости в схемах указывается одинаковой линией сечения в обоих случаях. Далекий от тематики человек может вообще не найти на планах и схемах различий между ними. Но отличия все-таки есть.
- разрез демонстрирует то, что находится и в секущей плоскости, и за ней, в то время как сечение дает представление лишь о том, что находится непосредственно в секущей плоскости;
- сечение — это способ показать поперечную форму продукта.
Для выделения обозначается штриховкой по типу материала, из которого будет изготовлен этот продукт.
В зависимости от расположения на чертеже, сечения разделяются на вынесенные и наложенные. Вынесенный вид располагают чаще всего на свободном поле и обводят основной линией. Наложенный — непосредственно на изображении предмета и обводят тонкой линией.
На самом деле тонкостей и профессиональных моментов в работе над чертежом достаточно много. Если вы не хотите «промахнуться» в своей письменной лабораторной или курсовой работе на графическом моменте, обратитесь за квалифицированной помощью на сервис Феникс.Хелп, где вам с радостью помогут.
инструкция по оформлению конструкторских чертежей по ЕСКД
При выполнении любого чертежа следует четко следовать инструкции по оформлению конструкторских чертежей (ЕСКД). Там четко описаны требования в изображению предмета в разрезе. А вот что такое разрез, какие бывают разновидности и как его изображать – сейчас мы с вами и узнаем.
Основы оформления чертежей по ЕСКД: что такое разрезы и какими они бывают?
Разрез – это изображение объекта путем мысленного рассечения одной или нескольких его плоскостей.
Благодаря разрезам можно увидеть, что находится в секущей плоскости, а также за ней.
Простые разрезы
Простые разрезы (с одной секущей плоскостью) делятся на:
- горизонтальные;
- вертикальные;
- наклонные.
Вертикальные разрезы в свою очередь бывают:
- фронтальными;
- профильными.
Простой разрез
Сложные разрезы
Сложные разрезы (с несколькими секущими плоскостями) бывают ступенчатыми и ломаными. Ступенчатые в свою очередь разделяют на:
- фронтальные;
- горизонтальные.
Сложный разрез
Основные правила оформления разрезов чертежей ЕСКД
При создании секущей плоскости ее положение следует показывать при помощи толстой разомкнутой линии (1,5 s, где s – это толщина основной линии).
Длина каждого штриха должна равняться 8-20 мм. Необходимо стрелками показать направление взгляда, причем стрелки должны быть расположены перпендикулярно штрихам. Кроме того, стрелки должны быть расположены на расстоянии 2-3 мм от наружных краев штриха.
Образец
Название секущей плоскости пишется кириллицей и прописными буквами. Буквы следует наносить параллельно горизонтальным линиям главной надписи без учета положения стрелок.
В случае, когда секущая плоскость совпадает с плоскостью симметрии при выполнении простого разреза, по проекции связанного с главным изображением, секущую плоскость не следует изображать, а сам разрез не нужно подписывать.
Образец 1
Образец 2
Образец 3
Образец 4
Основные сведения по оформлению чертежей демонстрируют нам изображения всех разновидностей разрезов.
Основные требования к оформлению чертежей: как правильно выполнять разрезы?
Горизонтальный, профильный или фронтальный разрез можно выполнять на месте соответствующего основного вида.
Образец 5
Соединение части соответствующего разреза и части вида допускается лишь при их разделении линией с изломом или сплошной волнистой линей, которая не должна совпадать с любыми другими линиями изображения. Хотелось бы напомнить, что в любое время вы можете заказать чертежи.
Кстати! Для наших читателей сейчас действует скидка 10% на любой вид работы
Типы соединения
Если нужно соединить половину вида и половину разреза, являющихся симметричными фигурами, то разделяющей линией станет сама ось симметрии.
Половину вида нельзя соединять с половиной разреза в том случае, если хоть одна линия изображения совпадает с осевой. В таком случае нужно соединить большую часть вида с меньшей частью разреза или наоборот.
Разрез можно разделить и при помощи тонкой штрихпунктирной линии, которая совпадает со следом плоскости симметрии не предмета полностью, а его отдельных частей, если они представляют тело вращения.
Местный разрез
Соединяя половину вида с половиной разреза, разрез нужно размещать слева от вертикальной оси и под горизонтальной.
Местный разрез должен обозначаться сплошной волнистой линией, при этом не допускается ее совпадение с других линиями изображения.
Ломаный разрез
Образец 9
При изображении ломаного разреза секущая плоскость условно поворачивается до момента соединения в одну плоскость. И направление поворота не обязательно должно совпадать с направлением взгляда.
Если вдруг совмещенные плоскости будут параллельны какой-нибудь основной плоскости проекций, то можно разместить ломаный разрез на месте соответствующего вида.
Вот вы и узнали, как правильно оформлять чертежи А0, А1, А2, А3 и другие. Прочие требования по оформлению разрезов в чертежах можно изучить более подробно в методических рекомендациях ЕСКД и ГОСТ.
Если вам некогда заниматься поиском нужной информации или просто не хотите тратить собственное время, не обладаете необходимыми знаниями для выполнения чертежей, то можно всегда заказать чертежи.
Использование вырезания, копирования и вставки в чертежах
Использование вырезания, копирования и вставки в чертежах
Используйте стандартные команды Windows Clipboard Cut, Copy и Paste в Manifold для удаления объектов и их перемещения между чертежами и слоями чертежей на картах.
Существует три пути использования команд буфера обмена:
Используйте команды из меню Правка. В этом случае Вырезать и Копировать будут применены ко всем выделенным объектам в активном окне рисования.
Используйте стандартные сочетания клавиш Windows: CTRL X для вырезания, CTRL C для копирования и CTRL V для вставки. Команды буфера обмена с клавиатуры будут применяться ко всем выделенным объектам на активном чертеже.
Щелкните правой кнопкой мыши объект на чертеже и выберите «Вырезать» или «Копировать» в контекстном меню чертежа или щелкните правой кнопкой мыши в любом месте чертежа и выберите «Вставить» или «Вставить с добавлением».
Команды Windows Cipboard будут работать между двумя разными сеансами Manifold, если на вашем компьютере одновременно запущены две программы Manifold. Мы можем копировать объекты из одного сеанса Manifold, переключаться на другой сеанс Manifold с помощью панели задач Windows, а затем вставлять объекты в рисунок в новом сеансе.
Это удобный способ копирования или перемещения объектов между разными проектами.
При копировании и вставке объекты запоминают свое географическое положение. Они всегда появляются в одном и том же географическом местоположении независимо от того, как масштабируется или масштабируется целевой чертеж или карта.
Команды буфера обмена в Картах
При использовании на картах команды буфера обмена работают только с активным слоем. Это обеспечивает удобный способ быстрого перемещения объектов между чертежами, отображаемыми в виде слоев на картах. Щелкните вкладку исходного слоя, чтобы активировать его, вырежьте нужные объекты, щелкните вкладку целевого слоя, чтобы активировать его, а затем Вставить.
Клавиша ALT в Картах
Операции выделения и буфера обмена на картах работают только на активном слое. Чтобы распространить действие этих операций на все видимые слои, нажмите клавишу ALT.
Например, при рисовании рамки выбора на карте будут выбраны только объекты в активном слое. Удерживая клавишу ALT при рисовании поля выбора, вы выбираете объекты из всех видимых слоев. Нажатие Удалить удаляет выбранные объекты только в активном слое. Нажатие ALT-Delete удаляет выбранные объекты во всех видимых слоях. Воспринимайте ALT как мнемоническое обозначение «Все».
Резка
Предположим, у нас есть один рисунок, содержащий треугольную область. Этот рисунок отформатирован таким образом, что области отображаются синим цветом.
У нас есть еще один рисунок, содержащий квадрат и круглую область. Этот рисунок отформатирован таким образом, что области отображаются желтым цветом.
Если мы поместим два рисунка вместе на карту с желтым рисунком на слой над синим рисунком, мы сможем увидеть относительные положения, занимаемые объектами на двух рисунках.
Давайте выберем желтый квадрат.
Если мы используем Edit — Cut (или стандартное сочетание клавиш Windows, CTRL x), оно исчезает.
Склеивание
В Windows работа команды «Вставить» зависит от того, выделено что-либо или нет. Если ничего не выбрано, объекты в буфере обмена вставляются как новые элементы в дополнение к любым объектам на целевом чертеже. Если некоторые объекты на целевом чертеже выбраны во время Вставки, вместо этих элементов вставляется буфер обмена. Выбранные элементы удаляются, а затем вставляются новые элементы.
Мы можем увидеть это, продолжив приведенный выше пример, вставив буфер обмена в синий слой рисования. На приведенных ниже снимках экрана показаны два разных случая: слева мы ничего не выделяли перед вставкой, а справа мы выделили треугольник.
Предположим, мы только что вырезали желтый квадрат. Мы собираемся вставить его. Слева ничего не выбрано. В примере справа выбран синий треугольник.
Теперь мы вставляем буфер обмена в синий слой.
Слева мы видим, что квадрат появляется в синем слое (конечно, в синем формате) в дополнение к тому, что находится в этом слое. В примере справа, где был выбран треугольник, мы видим, что команда «Вставить» заменяет выделенный треугольник новым синим квадратом. Обратите внимание, что если бы в синем слое помимо треугольника было выделено много объектов, все они были бы удалены до того, как был вставлен новый синий квадрат.
В качестве концептуальной аналогии можно сказать, что Windows вырезает и вставляет именно так в стандартных приложениях Windows, таких как Microsoft Word. Если мы выделим фразу в Word, а затем вырежем ее, мы скопируем фразу в буфер обмена. Если мы вставим эту фразу обратно в документ, то, что произойдет, зависит от того, будет ли впоследствии выделен какой-либо текст. Если текст не выделен, вырезанная фраза будет вставлена обратно в документ в дополнение ко всему существующему тексту. Если, с другой стороны, мы выделим некоторый текст, а затем выполним Вставку, вставленная фраза заменит любой выделенный текст.
Вставить Добавление похоже на Вставить, за исключением того, что оно не удаляет и не заменяет любые ранее выбранные объекты.
Географический пример
Предположим, у нас есть два рисунка, на которых показаны объекты в районе залива Сан-Франциско. На рисунке слева показаны особенности гидрографического слоя карты Геологической службы США. На рисунке справа округа Конгресса для 106-го Конгресса показаны как области. Мы выбрали один из районов и использовали Правка — Копировать, чтобы скопировать его в буфер обмена.
Если мы теперь щелкнем на чертеже bay_hydro, чтобы переключить фокус на этот чертеж, и выберем Edit — Paste, объект области в буфере обмена будет вставлен в этот чертеж. Мы использовали панель инструментов «Формат», чтобы указать использование желтого цвета для областей в bay_hydro, того же светло-желтого цвета, который используется для областей на карте районов. Вставленные объекты приобретут любой цвет, определенный для объектов этого типа на целевом чертеже.
Предположим, теперь мы выбираем площадной объект, только что вставленный в чертеж Bay_Hydro. Мы открываем третий рисунок под названием «Калифорния», на котором округа Калифорнии показаны как области. Мы выбираем округ Сан-Матео на чертеже Калифорнии и используем Правка — Копировать, чтобы скопировать его в буфер обмена.
Если теперь снова нажать на bay_hydro и нажать «Вставить», ранее выбранный объект района будет удален и заменен объектом округа Сан-Матео, вставляемым из буфера обмена.
Примечания:
На приведенном выше рисунке вставленный объект выделен светло-зеленым цветом. Когда он был впервые вставлен в bay_hydro, он был окрашен в светло-желтый цвет, определенный для областей на этом чертеже. Мы использовали панель инструментов Формат, чтобы изменить цвет на светло-зеленый. Мы сделали это, чтобы визуально подчеркнуть замену районного объекта районным.
Пример устранения неполадок
Если мы Скопируем выделенные объекты, такие как те, что слева, и Вставим их в другой рисунок и получим результат справа, проблема заключается в том, что рисунок справа использует ортогональную проекцию, а рисунок слева использует проекцию географической широты и долготы.
Если чертеж создается, когда панель проекта находится в фокусе, по умолчанию он создается с использованием ортогональной проекции. Когда объекты были вставлены в ортогональный чертеж, они выглядели так, как должны были быть показаны в этой проекции.
Ситуации, подобные описанной выше, возникают, когда мы выбрали объекты на чертеже широты и долготы, выбрали Правка — Копировать, а затем щелкнули на панели проекта и выбрали Файл — Создать — Чертеж. В тот момент, когда мы щелкнули панель проекта, мы переместили фокус на панель проекта, и поэтому новый чертеж был создан в ортогональной проекции. Что мы должны были сделать, так это выбрать Файл — Создать — Рисунок, когда чертеж широты и долготы все еще был активным окном. В этом случае новый чертеж был бы создан по умолчанию, чтобы соответствовать чертежу, который был открыт и имел фокус.
Обратите внимание, что вставленные объекты Северной и Южной Америки правильно видны в ортогональной проекции по умолчанию, которая, в конце концов, представляет собой вид из космоса с центром на пересечении экватора и нулевого меридиана недалеко от побережья Африки.
С этой позиции Северная и Южная Америка кажутся сильно укороченными, так как находятся на краю видимой части Земли. В ортогональной проекции по умолчанию используется «прозрачный земной шар», так что Аляска на рисунке справа видна сквозь Землю. Дополнительные сведения см. в темах «Проекции».
Мы можем восстановить ситуацию, перепроецировав рисунок справа в проекцию географической широты и долготы.
См. также
Информацию о диалоговом окне «Вставить объекты», которое появляется при копировании объектов из одного чертежа и вставке их в другой чертеж, см. в разделе «Редактирование — Вставить/Вставить добавление».
Easy Peasy Набор для рисования животных
Easy Peasy Набор для рисования животных — Дизайнерские вырезыРисуйте милых животных как профессионал, даже если вы новичок! Представляем набор для рисования животных Easy-Peasy, который поможет вам создать очаровательных персонажей животных, которыми вы будете гордиться!
Вы избегаете рисовать животных, потому что они такие «сложные»? Или, может быть, вы хотите, чтобы вы могли придать этому милому, причудливому стилю и создавать персонажей, полных очарования? Или считаете добавление таких вещей, как одежда и аксессуары, очень пугающим?
Не обязательно! С набором для рисования животных Easy-Peasy вы сможете в один миг создать милых зверюшек.
Умный конструктор рамок строит догадки о расположении и соотношении голов и тел. Просто включите и выключите слои, чтобы построить свою базу.
Затем выберите один из 37 различных предметов одежды, специально созданных для соответствия телам животных. И, наконец, подчеркните привлекательность с помощью 21 аксессуара, включая шляпы, банты, баннеры и многое другое.
Чтобы ускорить рабочий процесс, вы получите 14 цветовых палитр, идеально подходящих для персонажей животных, а также очень полезное руководство о том, как я применил палитры к животным, чтобы вы могли увидеть их в действии.
Руководство также содержит советы по созданию собственных палитр, советы по добавлению привлекательности вашему персонажу и пошаговые инструкции для каждой версии программного обеспечения набора.
А если вы не знаете, с чего начать, я включил 10 готовых животных, просто перетащите их в свой файл, создайте новый слой и начните рисовать.
Этот набор идеален, если:
- Вы хотели бы рисовать милых животных, но боитесь и не знаете, с чего начать.

- Вам нужна помощь с пропорциями тела и как рисовать разные позы.
- Вы изо всех сил пытаетесь подобрать одежду, аксессуары и другие привлекательные элементы, чтобы вывести своего персонажа на новый уровень.
- Вам нужен инструмент, экономящий время, чтобы создавать очаровательных животных, которыми вы гордитесь.
- Вы просто хотите чувствовать себя более уверенно и получать удовольствие, создавая очаровательных маленьких существ без стресса и переутомления!
С более чем 150 элементами вы будете создавать сотни милых животных! И мне не терпится их увидеть!
Этот продукт представлен в The Ultimate Cute Creative Toolbox
В этот набор входит:
- Конструктор каркаса, включающий головки и корпуса
- 20 голов животных – каждая с видом в три четверти и спереди
- 11 тел в разных позах
- 19 хвостов животных
- 37 предметов одежды
- 21 аксессуар
- 14 цветовых палитр
- 10 готовых рамок для животных
- 18-страничное руководство «Советы и вдохновение»
- Пошаговые инструкции в формате pdf для каждой версии программного обеспечения
Размножить:
- Документ многоуровневого компоновщика фреймов
- Щетки для штампов
- Палитры
- Инструкции в формате PDF
Adobe Illustrator
- Документ многоуровневого компоновщика фреймов
- Образцы
- Инструкции в формате PDF
Adobe Photoshop
- Документ многоуровневого компоновщика фреймов
- Щетки для штампов
- Образцы
- Инструкции в формате PDF
Родственный дизайнер
- Документ многоуровневого компоновщика фреймов
- Кисти для пиксельных штампов
- Образцы
- Инструкции в формате PDF
Размер архивированного файла
Типы файлов в комплекте: ABR, AFBRUSHES, AFPALLETTE, AI, BRUSHSET, PROCREATE, PSD, SWATCHES
Совместимость с программным обеспечением:
Adobe Illustrator CS6 (и выше), Adobe Photoshop CS6 (и выше), Affinity, Procreate.

Для выделения обозначается штриховкой по типу материала, из которого будет изготовлен этот продукт.